钜大锂电 | 点击量:0次 | 2018年09月07日
国内补锂、预锂化专利技术分析
硅碳材料的首次充放电效率低、膨胀大、长循环会带来材料粉化问题、以及与相关电解液、胶的匹配问题始终困扰着相关的科研人员,因而,补锂、预锂化等技术越来越受到广大科研人员的关注,并且在相关的领域已经有了一些进展。
随着动力电池能量密度的不断提升,现有负极材料的克容量以及压实密度已经到了极限值,因而,硅碳材料的使用将是未来一段时间的热点。与此同时,硅碳材料的首次充放电效率低、膨胀大、长循环会带来材料粉化问题、以及与相关电解液、胶的匹配问题始终困扰着相关的科研人员,因而,补锂、预锂化等技术越来越受到广大科研人员的关注,并且在相关的领域已经有了一些进展。本文将从相关专利入手,来分析目前国内补锂、预锂化的相关技术发展。
1.专利技术的整体分析:以“补锂”“预锂化”“锂金属负极”“锂粉”“锂带”为关键词进行专利检索,按照时间和内容经过初步筛选,共筛选专利50份,其中国内专利40份,国际专利10份,并按照相关内容进行分类

以下将通过不同专利方向选出具有代表性的专利进行分析
2.预锂化专利研究
首先是天津巴莫科技有限公司的专利,名字为锂离子电池负极材料的预锂化方法,具体技术如下图所示:

首先将锂金属锂嵌压在集流体上,然后通过导线与负极相连,通过控特种线的阻值来控制预锂化的速度;其次将嵌压后的金属锂用不与电解液反应的物质(石蜡、隔膜、铜箔包裹起来,并在包裹表面预留两个孔,通过控制孔的大小和导线的阻值大小来控制预锂化速度,就从专利本身分析,实际上并不太具有大批量生产的可能性,最终的预锂化结果也并不好评判。
第二篇是万向A123的专利,名字为预锂化的方法、包括该方法的制造锂二次电池的方法以及有该方法制造的锂二次电池,原理图入下图所示:

首先需要制备硅碳负极;其次,手套箱中,电解槽中二步电流电沉中,再次,浸泡在DMC中洗去表面锂,最后,烘干后的到预锂化的电极;通过控制电流的大小和时间达到沉积不同厚度的预锂化硅碳负极。这个从技术角度分析,理论上确实可行,但在批量使用时如何实现预锂化的自动化,也是具有难度的。
第三篇是合肥国轩的专利,名为一种锂离子电池负极极片进行预锂化的方法和装置原理图如下,实际和万向的专利还是有类似之处的.

首先将负极片、隔膜、锂片依次放入电解液中,锂片与负极片不接触;其次,外接电源,对负极片充电,控制电流0.05-2C以及充电时间来达到补锂的目的。最后,得到极片烘干后得到预锂化负极。
3.补锂专利研究
首先是宁德时代的专利,CATL在补锂方面做了很多的工作,相关专利也很多;第一篇为一种向锂离子电池负极补充锂粉的方法,原理如下:

首先通过投料装置在密闭的空间里撒锂粉;其次喷撒完,打开挡板和直流电源,在震动和电厂的作用下锂粉均匀的喷撒在负极表面;通过控制走带速度来控制补锂的量;再次通过辊压将锂粉和负极压在一起。这个专利实际上考量设备的能力,本身锂粉比较轻,比表面积也比较大,如何控制精确补锂,均匀补锂,将是很大的难点。
第二篇依然是宁德时代的专利,名为一种向锂离子电池负极片补锂的方法,技术要点为,首先,.将锂粉溶解于有机溶剂中,所述有机溶剂为联苯和二甲氧基乙烷中的至少一种;其次,将有机锂溶液喷洒或滴加于负极片表面;再次在惰性气氛中,将负极片浸泡在有机锂溶液中,使有机锂溶液中的锂离子被还原成金属锂并嵌入负极片中,然后干燥负极片;完成补锂;通过喷撒、浸泡时间,溶液浓度等方面来控制补锂量。问题依然是锂粉的高活性以及环境的控制问题。
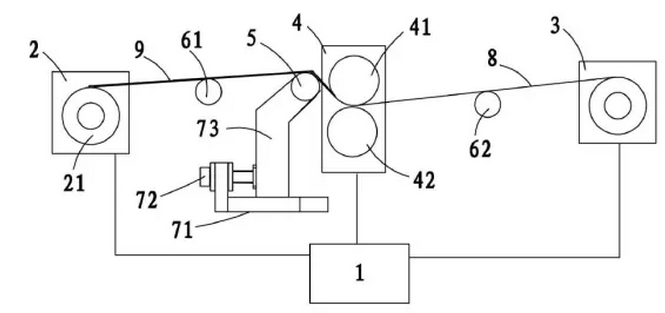
第三篇宁德时代的专利,名为极片锂粉辊压装置及方法;通过包角辊5控制张力4上涂二甲基硅油防止粘辊,如下图所示:

第四篇依然是宁德时代的专利,名为一种向锂离子电池负极片双面连续补充锂粉的方法,通过一个专用设备可实现连续双面负极补锂,通过上下料斗振动器的频率以及收放卷的速度来控制补锂量,如下图所示:

第五篇依然是宁德时代的专利,名为锂离子电池极片的锂粉处理系统及方法,在补锂设备上增加了在线检测系统,检测锂粉补锂的均匀性,通过对采集的图片进行细分处理,分成一定数量的小单元,通过分析各个小单元灰度数值显示,确定出各个小单元是否补锂;在每个周期采集的若干张图片中,计算出未补锂小单元的总面积,从而获得未补锂小单元总面积与所有小单元总面积的百分比;当未补锂小单元总面积与所有小单元总面积的百分比小于某一数值(例如10%)时,规定为补锂均匀;若补锂不均匀,电信号触发第一在线贴标装置5启动。

以上几篇专利可以看出宁德时代在补锂方面的巨大投入和进展,据老李了解,目前锂带补锂是一个趋势,难点在于如何把锂带压到一个很薄的厚度,本身锂是很软的金属,压到很薄需要一些保护膜以及一些润滑油来辅助,对设备以及工艺有着很高的要求,据悉宁德时代已经解决了这方面的问题,就让我们拭目以待吧。
4.其他补锂方式
首先是清华大学的一篇专利,名为一种锂硫二次电池的制备方法,具体流程为蒸镀补锂,加热温度300-1000℃,真空室压力0.01-0.001Pa,弧电流10-100A,时间1-10min,锂沉积量5-50g/㎡。这个方法在小批量实验应该是可实现的。
第二篇是洛阳力容新能源的一篇专利,名为固态电解质的锂电池,原理图如下:

首先,在陶瓷隔膜对负极的表面在涂覆一层补锂层;其次补锂层所用溶剂为NMP、粘结剂为丁苯橡胶、丁腈橡胶类物质,再次,正负极集流体均采用多孔集流体。和清华大学专利类似,只不过是在隔膜上进行镀锂,但是镀锂的温度比较高,隔膜在高温是否会收缩,是否会闭孔,以及镀锂量以及厚度的控制,都是需要深入研究的。
第三篇是南京大学的一篇专利,名为预锂化负极制备方法和应用,方法为湿法预锂,锂金属、电解质、负极组成原电池预锂化,然后将预锂化的负极匀浆涂布。但溶剂的选择,工艺的控制、以及涂布参数和工艺、环境的控制,都是难点。
小结:从上述专利分析来看,锂粉补锂、锂带补锂、电化学补锂等技术在企业用的相对比较多,但目前市面上并没有补锂的产品面世,所以各项技术还是不太成熟,需要有所突破,不管是哪项技术的突破,都需要广大科研工作者的努力。希望在不久的将来,能有相关补锂的产品问世。










